重庆轨道交通4号线系统维护云端平台项目案例
重庆市轨道交通(集团)有限公司是重庆市承担城市轨道交通建设、运营和沿线资源开发的大型国有控股企业,总资产约2250亿元,职工2万余人。重庆轨道交通4号线二期线路全长约32.8公里,全线共设15座车站,其中高架站5座,地下站10座,于2022年6月开通。
重庆轨道交通4号线系统维护云端平台项目案例
重庆市轨道交通(集团)有限公司是重庆市承担城市轨道交通建设、运营和沿线资源开发的大型国有控股企业,总资产约2250亿元,职工2万余人。重庆轨道交通4号线二期线路全长约32.8公里,全线共设15座车站,其中高架站5座,地下站10座,于2022年6月开通。
案例概述

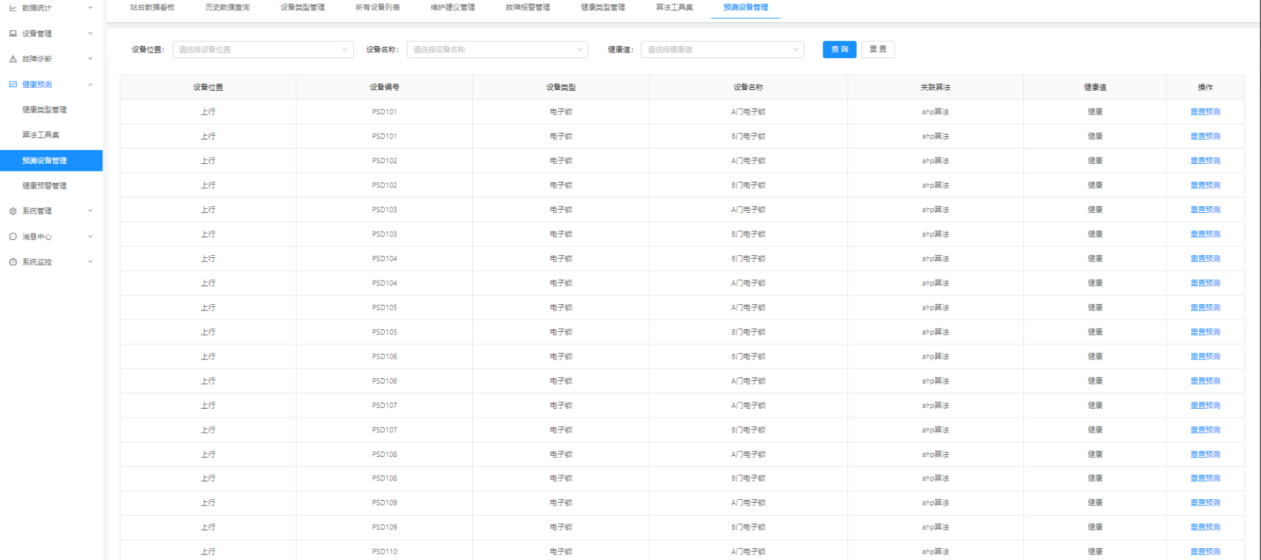
通过5G+物联网等技术对工业设备信息数据实现实时状态统计、报警信息统计、运行时间统计、关键指标统计确保信息准确、快速流转,确保轨道交通设备能够正常维护与使用,保证高效运行状态;自动监控保养计划的执行;以可视化方式实现轨道交通设备信息展示。

构建故障预测模型,通过AI+大数据等技术实现设备故障预测与故障诊断,为轨道交通设备的维护和检修做出科学决策,降低设备维护成本,维护设备信息一致性和唯一性,降低系统间数据互联互通的复杂度。

问题及挑战

用户痛点:目前轨道交通设备采用传统的人工方式进行轨道设备的运维,需要在现场投入大量的人力和物力,而且很难做到故障预判。对于投放到现场的产品,运维人员难以准确、完整地跟踪产品全生命周期的运行状态。

实施效果

工业智能运维系统平台共采集9类63种设备数量,每个车站平均每月采集3000多万条设备数据,从2022年3月1日至从2022年4月1日通过故障诊断分析模型诊断出1000多次设备故障,并及时报警和提出维护建议,提升运维效率,降低设备故障处理时间。

案例展示


微信公众号

航天云网

工业互联网观察

微博

工业互联网观察

关注

咨询建议